安装环境
安装时,应确认搬运路线及安装场地足够宽阔且坚固,可以移动和安装本产品。
搬运空间。
搬运路线必须至少具有以下宽度/高度。
important / 重要 |
|
Note / 補足 |
|
项目 | 未开箱(打印机) | 已开箱(打印机) | |
|---|---|---|---|
外型尺寸 | 宽度 | 724 mm | 555 mm |
深度 | 762 mm | 620 mm | |
高度 | 1,218 mm | 963 mm | |
安装空间/重量
Note / 補足 |
|
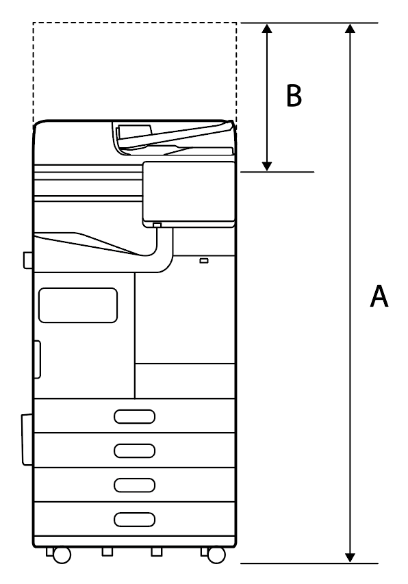
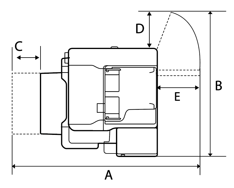
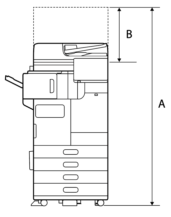
打印机主机 + 脚轮

| A | 1,417 mm |
|---|---|
| B | 518 mm |
| 重量 | 约110.4 kg |
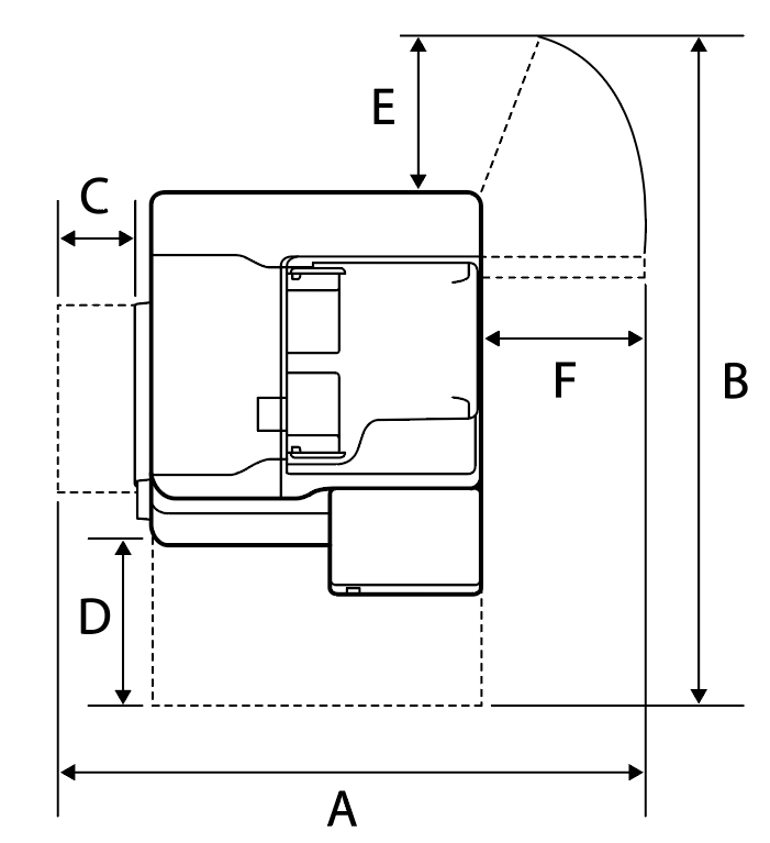
|---|
| A | 1,065 mm |
|---|---|
| B | 1,238 mm |
| C | 70 mm |
| D | 435 mm |
| E | 210 mm |
| F | 441 mm |
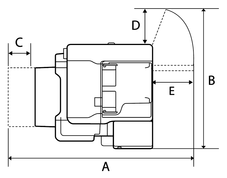
打印机主机 + 新增纸盒

| A | 1,588 mm |
|---|---|
| B | 518 mm |
| 重量 | 约135.3 kg |
|---|

| A | 1,065 mm |
|---|---|
| B | 1,238 mm |
| C | 70 mm |
| D | 435 mm |
| E | 210 mm |
| F | 441 mm |
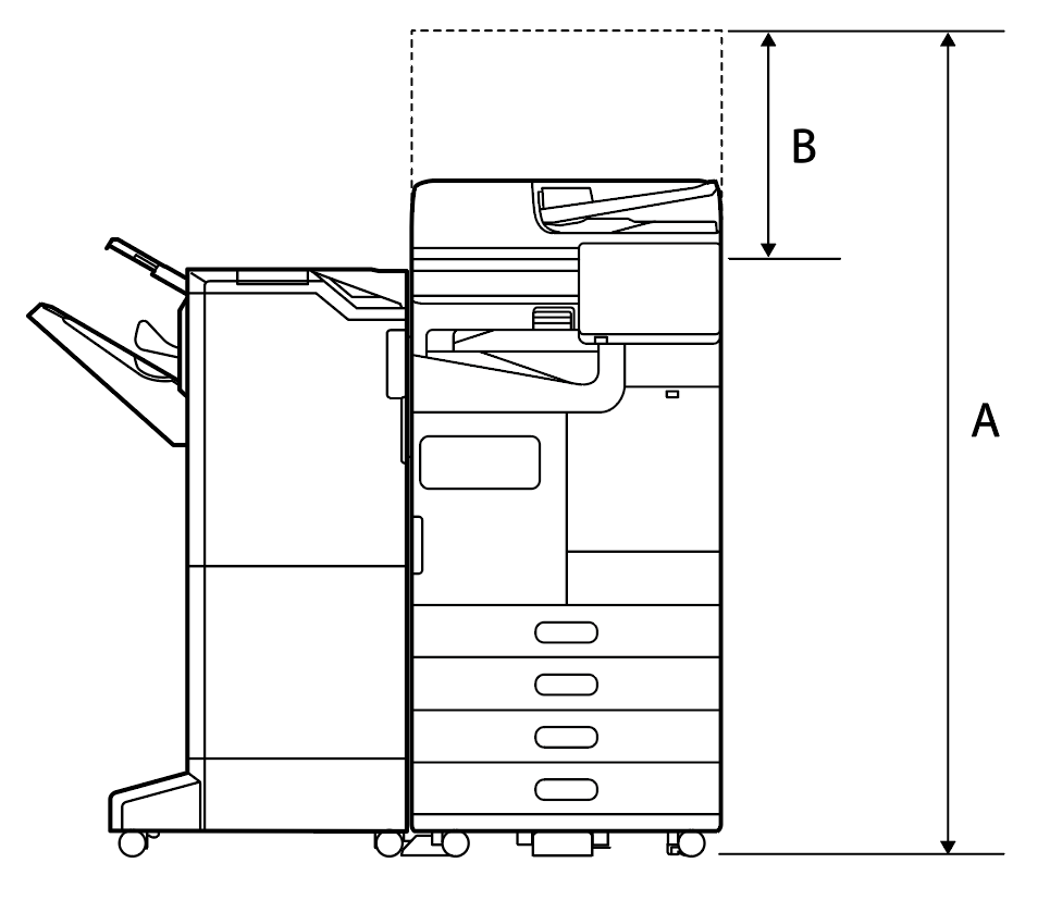
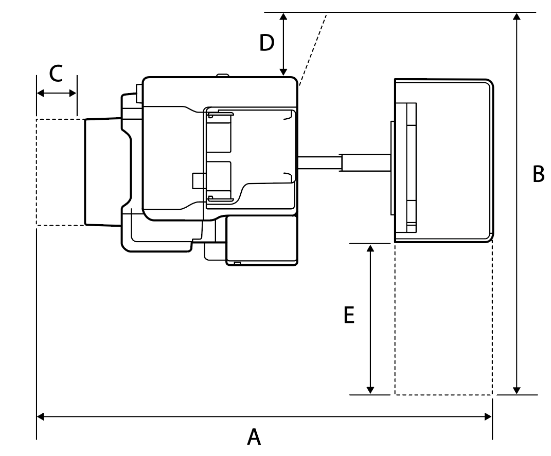
新增纸盒 + 落地式装订器

| A | 1,588 mm |
|---|---|
| B | 518 mm |
| 重量 | 约184.4 kg |
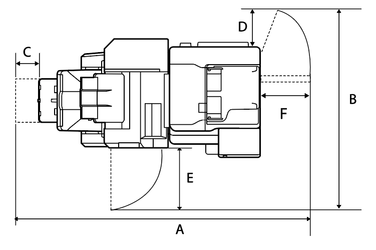
|---|

| A | 1,922 mm |
|---|---|
| B | 1,176 mm |
| C | 118 mm |
| D | 210 mm |
| E | 355 mm |
| F | 441 mm |
新增纸盒 + 落地式装订器 + 鞍式装订单元

| A | 1,588 mm |
|---|---|
| B | 518 mm |
| 重量 | 约206.4 kg |
|---|

| A | 1,921 mm |
|---|---|
| B | 1,176 mm |
| C | 117 mm |
| D | 210 mm |
| E | 355 mm |
| F | 441 mm |
新增纸盒 + 大容量进纸单元 + 落地式装订器 + 鞍式装订单元 + 稳定器已安装。

| A | 1,588 mm |
|---|---|
| B | 518 mm |
| 重量 | 约226.1 kg |
|---|

| A | 1,665 mm |
|---|---|
| B | 1,260 mm |
| C | 117 mm |
| D | 210 mm |
| E | 456 mm |
新增纸盒 + 内部装订器

| A | 1,588 mm |
|---|---|
| B | 518 mm |
| 重量 | 约143.5 kg |
|---|

| A | 1,312 mm |
|---|---|
| B | 1,238 mm |
| C | 110 mm |
| D | 435 mm |
| E | 210 mm |
| F | 441 mm |
新增纸盒 + 内部装订器 + 内部打孔

| A | 1,588 mm |
|---|---|
| B | 518 mm |
| 重量 | 约147.3 kg |
|---|

| A | 1,385 mm |
|---|---|
| B | 1,238 mm |
| C | 110 mm |
| D | 435 mm |
| E | 210 mm |
| F | 441 mm |
新增纸盒 + 大容量进纸单元 + 内部装订器 + 内部打孔 + 稳定器已安装。

| A | 1,588 mm |
|---|---|
| B | 518 mm |
| 重量 | 约172.3 kg |
|---|

| A | 1,665 mm |
|---|---|
| B | 1,260 mm |
| C | 110 mm |
| D | 210 mm |
| E | 456 mm |
安装环境
根据室外空气等环境条件,可能无法维持产品的运行质量。因此,建议在以下所述操作温度和湿度范围内使用本产品。
避免安装的位置
- 阳光直射的场所,如靠近窗户的位置
- 经常受到振动的位置
- 温度和/或湿度突然变化的位置
- 受到空调或其他设备冷热风直吹的位置
- 透气性差、通风不良的封闭环境
产品
项目 | 可保证操作 | 打印质量保证 | 可保证进纸可靠性 |
|---|---|---|---|
温度 | 5至40 °C | 10至35 °C | 18至28 °C |
湿度 | 15至80 %(无冷凝) | 35至70 % | |
项目 | 可能的操作 |
|---|---|
安装姿态 | +/- 3°以内。 |
important / 重要 |
|
墨盒
项目 | 可保证操作 | 包装储存可靠性 | 安装主机时的可靠性 | 包装运输期间的可靠性 |
|---|---|---|---|---|
温度 | 5至40 °C | -30至40°C | -20至40 °C | -30至60°C |
湿度 | 15 0 - 80 %(无冷凝) | 15 - 85 %(无冷凝) | ||
电源
额定电压 | AC 100-240 V | |||
|---|---|---|---|---|
额定电流 | 4.0-2.0 A | |||
额定频率 | 50/60 Hz | |||
| 能耗(连接有线局域网时) | 型号 | AM-C6000 | AM-C5000 | AM-C4000 |
| 复印时(ISO/IEC24712打印图案) | 大约110 W | 大约115 W | 大约115 W | |
| 准备就绪时 | 大约46 W | 大约46 W | 大约46 W | |
| 睡眠模式时 | 大约0.9 W | 大约0.9 W | 大约0.9 W | |
| 关闭时 | 大约0.1 W | 大约0.1 W | 大约0.1 W | |
| 最大能耗 | 大约190 W | 大约190 W | 大约190 W | |
关于安装大容量进纸器时地面状况的注意事项
根据地面材料的状况(例如具有高缓冲属性的地面材料),主机可能会下沉,并且大容量进纸器和主机的纸张路径之间的位置关系可能会超出规格。这可能会导致侧对位错位、卡纸等进纸故障。
请在安装前确认地面状况,安装后确认大容量进纸器和主机的纸张路径之间的位置关系。
地面状况
- 地面应水平且平坦
- 如果安装位置有地毯,刷毛长度应在4mm以内(无论纤维硬度或密度如何)
大容量进纸器和主机之间的水平规格
前侧①和后侧②的水平度:① - ②=±1mm以内
Note / 補足 |
|


